Hej,
Mitt första försök att göra något med en Shelly 1 gen 3. Har alldrig kopplat Shelly förr så ursäkta min novisitet.
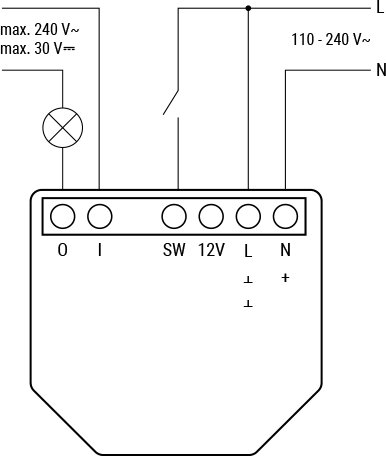
Tänkte att jag först skull koppla ihop det på skrivbordet bara för att testa och se hur det fungerar. Villket det visade sig inte göra. Allt är bara helt dött.
Har mätat över 0 och N där finns ca 230 V, har även mätat så att brytaren fungerar.
Någon ide vad som kan vara galet? Har jag gjort något kapital fel eller är det mot alla ods något galet med själva Shelly enheten. Följde deras instalations video när jag gjorde kopplingen.
Lampan är en 5 watt LED.
Mvh,
Christer
Mitt första försök att göra något med en Shelly 1 gen 3. Har alldrig kopplat Shelly förr så ursäkta min novisitet.
Tänkte att jag först skull koppla ihop det på skrivbordet bara för att testa och se hur det fungerar. Villket det visade sig inte göra. Allt är bara helt dött.
Har mätat över 0 och N där finns ca 230 V, har även mätat så att brytaren fungerar.
Någon ide vad som kan vara galet? Har jag gjort något kapital fel eller är det mot alla ods något galet med själva Shelly enheten. Följde deras instalations video när jag gjorde kopplingen.
Lampan är en 5 watt LED.
Inloggade ser högupplösta bilder
Logga in
Skapa konto
Gratis och tar endast 30 sekunder
Mvh,
Christer
Tusen tack för svaren, fick mig på rätt spår.
Tittade en sväng till på instalations videon
Upptäckte att jag blandade ihop de de kallar "load wire" och "live wire".
"load wire" där lasten är inkopplad i detta fall 5 W LED lampan.
"live wire" där strömmen, fasen kommer in.
Det är i alla fall som jag tolkade det, och när jag kopplade om på det sättet så fungerade det hela. Fantastiskt, så kul.
har jag förstått rätt att nollan går liksom genom LED lampan i detta fall och till drivkretsens 0?
Tack, tack.
Tittade en sväng till på instalations videon
Upptäckte att jag blandade ihop de de kallar "load wire" och "live wire".
"load wire" där lasten är inkopplad i detta fall 5 W LED lampan.
"live wire" där strömmen, fasen kommer in.
Det är i alla fall som jag tolkade det, och när jag kopplade om på det sättet så fungerade det hela. Fantastiskt, så kul.
Inloggade ser högupplösta bilder
Logga in
Skapa konto
Gratis och tar endast 30 sekunder
har jag förstått rätt att nollan går liksom genom LED lampan i detta fall och till drivkretsens 0?
Tack, tack.
Medlem
· Västra Götaland
· 714 inlägg
Är det inte bättre att förklara än att ge ett nedlåtande svar? Tänker jag iallafall...useless skrev:
Det är ju liksom hela tanken med forum och att hjälpa varandra. Du hjälper ju andra väldigt ofta så ta det inte personligt, det är bara en tendens ibland på forumet och i synnerhet när det gäller elrelaterade frågor.
🤗
Men vad fan… titta på bilden på Shellyn och sen tar du papper och penna och så ritar du upp det du gjort och jämför bilderna. Ty
generellt. Men speciellt när det gäller farlig el så ligger det ett stort ansvar på den som skruvar. I vissa fall är rätt rekommendation att vända sig till nån som kan.andreascarlsson skrev:
Är det inte bättre att förklara än att ge ett nedlåtande svar? Tänker jag iallafall...
Det är ju liksom hela tanken med forum och att hjälpa varandra. Du hjälper ju andra väldigt ofta så ta det inte personligt, det är bara en tendens ibland på forumet och i synnerhet när det gäller elrelaterade frågor.
🤗
Nu har TS fysiskt kopplat rätt, det som nu fallerar är teorin i hur strömmen går i kopplingen samt vilken funktion de olika anslutningspunkterna på Shellyn har.andreascarlsson skrev:
Är det inte bättre att förklara än att ge ett nedlåtande svar? Tänker jag iallafall...
Det är ju liksom hela tanken med forum och att hjälpa varandra. Du hjälper ju andra väldigt ofta så ta det inte personligt, det är bara en tendens ibland på forumet och i synnerhet när det gäller elrelaterade frågor.
🤗
Edit:
Nu har useless redan förklarat vad TS skulle göra för att det skulle bli rätt, å TS har gjort det useless skrev.
Medlem
· Västra Götaland
· 714 inlägg
Jag håller med, el kan vara jättefarligt. Det kan även hammare och spik vara, för att inte tala om elsågar. Men det är alltid just elfrågor som genererar svar av typen "Kan du inte detta ska du nog pyssla med annat", "Kopplar du fel kan du dö", osv osv. Har nog aldrig sett någon skriva "Tänk på att du kan såga av dig handen om du använder gersågen på fel sätt".F fsn skrev:
Ungefär som att alla som kan el är några slags föräldrar som behöver påminna frågeställaren om att denne är ett litet imbecillt barn som behöver gå hundra kurser innan denne ens får koppla en fas till en annan.
Eftersom det finns ett gäng människor som gärna lär sig mer om el, så ser jag inte faran i att dela med sig av sin kunskap. Antingen pillar man med elen utan att få input från en kunnig person, eller så får man hjälp. Bägge alternativen kan leda till döden, men får man hjälp kanske man lyckas göra det på rätt sätt utan olyckor. Det behövs liksom inga pekpinnar.
Att skriva som TS gör – att han är ute på hal is – räcker gott och väl för att man ska förstå att han inte är någon expert (ja, då hade han väl antagligen inte ens frågat). Att skriva "Annars ska du kanske inte hålla på med starkström?" är helt enkelt ett otrevligt svar, som inte hjälper någon.
Jag efterlyser helt enkelt en liten schysstare och trevligare ton mot alla som ställer dumma – men välbehövliga – frågor om el.
I all välmening. 🙂
Klicka här för att svara
Liknande trådar
-
Asbesttester renovering av lägenhet, brf 1981
Byggmaterial & Byggteknik -
Shelly G3 plus 1 till garageportsmotor
Villalarm & Hemautomation -
Var sitter säkringen på en rider Huskvarna 111c?
Trädgårdsmaskiner -
Koppla Shelly 1 mini gen3 som strömbrytare
El -
Installera shelly 1 mini gen3 bakom strömbrytare
El
