Jag tänkte ha en enfas JFB för kylen och frysen och dom ska i sin tur matas från varsin säkring. Måste det finnas en nollplint för denna JFB eller kan man koppla in nollorna direkt på JFB? Det gäller ju bara 2 trådar. Det är ju inte ok att koppla flera trådar på en säkring men hur är det med JFB?
En annan enfas JFB ska mata EN säkring för uttag ute och fasad belysning, där måste det väl vara ok att skippa nollplinten eller?
Planen är att ha totalt 4 JFB där 2st har varsin nollplint medan dom 2 här uppe inte skulle behöva nån nollplint.
En annan enfas JFB ska mata EN säkring för uttag ute och fasad belysning, där måste det väl vara ok att skippa nollplinten eller?
Planen är att ha totalt 4 JFB där 2st har varsin nollplint medan dom 2 här uppe inte skulle behöva nån nollplint.
Jag kanske var otydlig men frågan var alltså om man får dra båda två noll ledarna från jordfelsbrytaren eller om man måste gå via en nollplint? Det ska vara en jfb med två grupper anslutna, en till kyl och en till frys.elmont skrev:
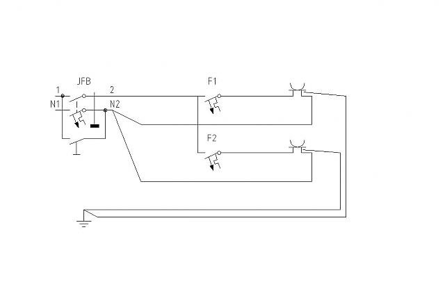
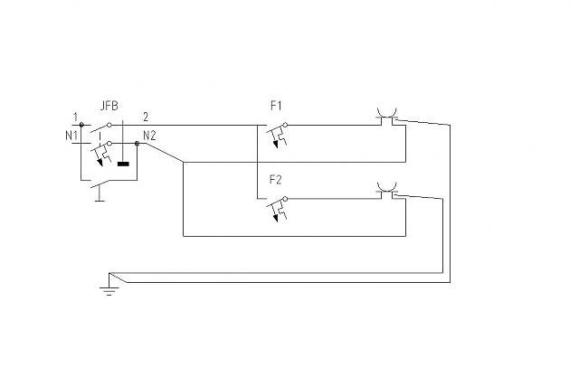
Så här direkt från JFB
Nu finns grejjerna inköpta redan så jag vill gärna använda dom. Och i detta fall så ska jag endast ha 2 grupper så jag spar ingen plats heller. 2st personskyddsautomater = 4moduler, 1 JFB + 2 automatsäkringar = 4 moduler.pefo skrev:
Men lägger han dem på samma säkring och rören redan är dragna så hamnar ju både nolla och fas på samma skruvar och då blir det ju fel iaf. Ytterligare en anledning till att alla funderingar ska vara gjorda innan rör dras.
Men det är väl ofta så att "vem som helst" kan dra rör och ledningar och sedan får elektrikern att komma och koppla. För det svåra är väl inte att INNAN arbetet sätter i gång VETA hur alla rör ska dras utan det svåra är väl att koppla eller???? (gäller inte speciellt i det här fallet utan ganska allmänt i forumet)
Inga rör är dragna än.
Samma säkring kunde ju vara nått. Av vilken orsak rekomenderar du det Elmont? För att slippar dra 2 nollor från JFB eller nått annat?
Hur stor effekt brukar vanliga fullhöjds kylar och frysar ha? (Det kanske är så att det inte finns nån orsak till att ha olika säkringar överhuvudtaget... Jag vet inte riktigt varför jag har tänkt ha olika säkringar egentligen, nu när jag tänker efter...)

Samma säkring kunde ju vara nått. Av vilken orsak rekomenderar du det Elmont? För att slippar dra 2 nollor från JFB eller nått annat?
Hur stor effekt brukar vanliga fullhöjds kylar och frysar ha? (Det kanske är så att det inte finns nån orsak till att ha olika säkringar överhuvudtaget... Jag vet inte riktigt varför jag har tänkt ha olika säkringar egentligen, nu när jag tänker efter...)
Tja...elmont skrev:Men det är väl ofta så att "vem som helst" kan dra rör och ledningar och sedan får elektrikern att komma och koppla. För det svåra är väl inte att INNAN arbetet sätter i gång VETA hur alla rör ska dras utan det svåra är väl att koppla eller???? (gäller inte speciellt i det här fallet utan ganska allmänt i forumet)
Amen.
Klicka här för att svara

