801 läst ·
24 svar
801 läst
24 svar
Vart kan jag hitta nytt spjäll till min kökskamin?
Japp, men du kan ta nästan vilken plåt som helst & göra en sån där.G Gesseman skrev:
Sen behöver du en sån här
https://www.vvsobadrum.se/reservdelar/reservdelar-varmepannor/ctc/ctc-baffel-for-parca-3000
Men även en sån kan du be den lokal smeden fixa.
Husägare
· Småländska höglandet
· 5 086 inlägg
Kan vara så, fick du inga träffar när du sökte på "baffelplåt parca" (eller "ctc")?G Gesseman skrev:
OK, glöm detta, du har redan fått din lösning här ovanför!
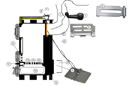
Jag såg precis den bilden, och det är inte så min verkar vara uppbyggd. Den verkar snarare vara som denna bilden (Paint är bäst)L lat skrev:
Produkter som diskuteras: "Paint"
Arbetsbelysning The Painter Rapid
Perfekt vid målning
370 kr inkl moms
Läs mer
Testar ladda upp video så blir det tydligare hur de ser ut. Det är verkligen bara ett hål ut bakom översta luckan, inget annat. Så den är inte uppbygd som den bilden eller som andra förklara. Har jag någon kina-version?L lat skrev:
@SågspånPappspikEternit
@lat
Lyfte på stången och den verkar vara avkapad vid hålet som är bakom första luckan, så verkar verkligen inte vara något alls under. Det är verkligen bara ett hål rakt ut till skorstenen, inget mer. Jag läste bruskanvisningen för parca kökspanna och rökgasspjället ska stå helt öppet när man eldar, så kommer inte göra någon skillnad om jag sätter dit något ändå? Jävla konstig och ineffektiv panna man skulle få då
@lat
Lyfte på stången och den verkar vara avkapad vid hålet som är bakom första luckan, så verkar verkligen inte vara något alls under. Det är verkligen bara ett hål rakt ut till skorstenen, inget mer. Jag läste bruskanvisningen för parca kökspanna och rökgasspjället ska stå helt öppet när man eldar, så kommer inte göra någon skillnad om jag sätter dit något ändå? Jävla konstig och ineffektiv panna man skulle få då
Husägare
· Småländska höglandet
· 5 086 inlägg
Vad ska man svara på det? Mycket mystiskt...
Jag trodde i min enfald att det var i princip samma konstruktion på nästan alla såna pannor.
Jag trodde i min enfald att det var i princip samma konstruktion på nästan alla såna pannor.
Klicka här för att svara
Produkter som diskuteras i tråden
Liknande trådar
-
Vart hittar jag förvaringslösningar för mina systainers?
Verktyg & Maskiner -
Vart hittar jag undermonterade expansionsbeslag?
Inredning -
Nytt kök - Svårt att hitta rätt mått
Kök -
WC- lås sönder (roddarpinnehylsa). Svårt att hitta ett nytt
Fönster & Dörrar -
Nytt eluttag till tombola - vart hittar jag sådant?
El
