46 689 läst ·
47 svar
47k läst
47 svar
Hjälp till att öppna tung lucka
Med reservation för att jag inte riktigt förstått hur du monterat den idag, men du behöver montera tryckstången i höjdled så att när luckan är stängd hjälper tryckstången till att hålla den stängd men när du börjar lyfta luckan går du över en "jämnviktspunkt" där tryckstången istället hjälper till att lyfta luckan.
Pröva att använda http://www.lesjoforsab.com/gasfjadrar/kraftberakning.asp för dina beräkningar istället.
Edit: Vet inte om din gasfjäder har den funktionen, men längst ned på denna sida http://www.aratron.se/vi-hjalper-dig-valja-ratt-1 så finns en instruktion om hur du kan minska kraften i fjädern.
Pröva att använda http://www.lesjoforsab.com/gasfjadrar/kraftberakning.asp för dina beräkningar istället.
Edit: Vet inte om din gasfjäder har den funktionen, men längst ned på denna sida http://www.aratron.se/vi-hjalper-dig-valja-ratt-1 så finns en instruktion om hur du kan minska kraften i fjädern.
Redigerat:
Hobbysnickare
· Västmanland
· 210 inlägg

Där ser du hur det ser ut idag, eller snarare de två placeringar jag kan ha dem på enligt konstruktionen. Ramen är alltså som du ser, den står mot husväggen i ena änden och mot verandan i andra änden, så den har inga egna "sidor" eller något att fästa den i.
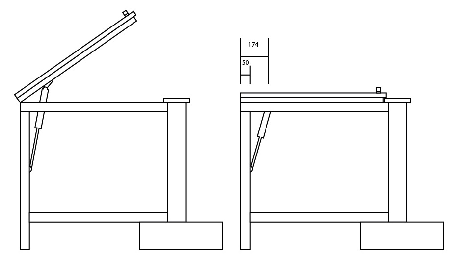
Locket är 94cm långt på kortsidan som du ser här, och väger 26 kilo. Jag har köpt två stycken gasfjädrar á 350N och vet inte hur dom ska placeras. På Valeryds hemsida så sätter jag alltså L1 till 940, Kg till 26 och N till 2 och sen så ändrade jag på L2 tills resultatet blev 350 (210 mm).
Så, jag fäste gasfjädern så som bilden till vänster i bilden ovan, med den övre delen 21cm in från gångjärnet, men med båda gasfjädrarna på plats så gick det inte att stänga luckan, så vad gör jag för fel? Jag testade även att fästa den som i den högra delen men då var den tung att öppna (ingen hjälp upp från nolläget) men när man fått upp den lite så hjälpte gasfjädrarna till.
I bilden på Valeryds hemsida så sitter fjädern på skissen i 45 graders vinkel, men som du ser på min skiss så finns det inget där att fästa den i. Det är dock något jag skulle kunna fixa med en extra snedlagd regel i konstruktionen, men jag vill ju i så fall veta exakta mått
Hobbysnickare
· Västmanland
· 210 inlägg
Jag har även skrivit lite mer om detta här: http://hemmabast.net/pages/Sopskap
Jag skulle vilja påstå att av de två exemplen i din bifogade bild är den högra mer rätt.
Och om fästet i luckan sticker ner i skåpet djupare än fästpunkten i övre "ramen" så kommer kolven att hjälpa till att hålla den stängd.
I exemplet till vänster kommer ju gasfjädern alltid att trycka uppåt. Och därmed aldrig hjälpa att hålla stängd.
En bilbaklucka går ju som bekant lite tyngre först, och sedan lättare när fjädrarna trycker på uppåt, och då hör man ju ljudet från dem.
Borde det inte gå att använda exemplet till vänster men du flyttar upp fjädern i stommen till övre kanten, och fästet i luckan längre ut, och även där låta fästet i luckan sticka ner längre i skåpet än fästpunkten i stommen, så att fjädern ger stängakraft när locket är stängt, och så fort du kommer över fjäderns fäste i stommen så kommer fjädern att hjälpa dig öppna och hålle locket öppet.
Och om fästet i luckan sticker ner i skåpet djupare än fästpunkten i övre "ramen" så kommer kolven att hjälpa till att hålla den stängd.
I exemplet till vänster kommer ju gasfjädern alltid att trycka uppåt. Och därmed aldrig hjälpa att hålla stängd.
En bilbaklucka går ju som bekant lite tyngre först, och sedan lättare när fjädrarna trycker på uppåt, och då hör man ju ljudet från dem.
Borde det inte gå att använda exemplet till vänster men du flyttar upp fjädern i stommen till övre kanten, och fästet i luckan längre ut, och även där låta fästet i luckan sticka ner längre i skåpet än fästpunkten i stommen, så att fjädern ger stängakraft när locket är stängt, och så fort du kommer över fjäderns fäste i stommen så kommer fjädern att hjälpa dig öppna och hålle locket öppet.
På valeryds hemsida står det att man skall dubblera värdet man får på vågen när man väger luckas vikt i bakkant. Enligt ditt inlägg har du skrivit 26kg.
Du måste anpassa måtten i din konstruktion efter din gasfjäders längd.
gasfjäderns totala längd blir hypotenusan i en tänkt triangel mellan fästpunkterna och gångjärnet.
Samt att när gasfjädern är helt ihopressad så ska den få platsmellan fästpunkterna, och pressa luckan svagt nedåt.
När du då lyfter luckan får du ett litet motstånd när gasfjädern pressas ihop det sista (kortaste sträckan) och hjälper därefter dig att lyfta luckan.
Du måste anpassa måtten i din konstruktion efter din gasfjäders längd.
gasfjäderns totala längd blir hypotenusan i en tänkt triangel mellan fästpunkterna och gångjärnet.
Samt att när gasfjädern är helt ihopressad så ska den få platsmellan fästpunkterna, och pressa luckan svagt nedåt.
När du då lyfter luckan får du ett litet motstånd när gasfjädern pressas ihop det sista (kortaste sträckan) och hjälper därefter dig att lyfta luckan.
Hobbysnickare
· Västmanland
· 210 inlägg
Nej, alltså, luckan väger 26 kilo, och den behöver ingen direkt hjälp att hållas stängd. Den behöver hjälp att öppnas. Med en horisontell fjäder får man ju ingen hjälp alls att öppna luckan förrän man lyft dessa 26 kilo en bra bit upp. Och tanken är att, då detta är ett sopskåp, att man bara har en hand att göra det med då den andra är upptagen med en soppåse.
Det måste finnas någon form av perfekt jämvikt där luckans tyngd håller nere fjädern men att det behövs väldigt lite kraft att väga över på fjäderns lyftkraft. Jag vet bara inte hur...
Om man kan sätta fjädern som i den högra bilden men sänka fästpunkten i ramen så att fjädern lutar uppåt MOT luckan så är det säkert någon vinkel där som är helt perfekt, men hur ska jag veta vilken?
Det måste finnas någon form av perfekt jämvikt där luckans tyngd håller nere fjädern men att det behövs väldigt lite kraft att väga över på fjäderns lyftkraft. Jag vet bara inte hur...
Om man kan sätta fjädern som i den högra bilden men sänka fästpunkten i ramen så att fjädern lutar uppåt MOT luckan så är det säkert någon vinkel där som är helt perfekt, men hur ska jag veta vilken?
Hobbysnickare
· Västmanland
· 210 inlägg
Jag håller inte med dig om hur fjädern ska placeras, då jag behöver hjälp att öppna från nolläget, men du sade något.
Luckan väger som sagt 26 kilo, men värdet på valeryds hemsida är kanske inte menat att vara kåpans totala vikt, utan som dom säger, den viktpåverkan den har i bakkant, gånger två. Om jag skulle väga min lucka på samma sätt så kanske jag skulle då ett annat värde än 26.
Men, valeryds uträkning verkar ju också som jag säger, utgå från att fjädern sitter i en 45-gradig vinkel, vilket stöder min teori.
Luckan väger som sagt 26 kilo, men värdet på valeryds hemsida är kanske inte menat att vara kåpans totala vikt, utan som dom säger, den viktpåverkan den har i bakkant, gånger två. Om jag skulle väga min lucka på samma sätt så kanske jag skulle då ett annat värde än 26.
Men, valeryds uträkning verkar ju också som jag säger, utgå från att fjädern sitter i en 45-gradig vinkel, vilket stöder min teori.
Ok,men skippa då läget där luckan hålls ned. Och kör på placering enligt högra bilden.
Gasfjädern ger väl inte samma kraft hela slaget, utan ger mest kraft i början (ihopskjuten).
Det är även i början hävarmen arbetar mot dig så att säga.
Så rät avstånd (hävarm) och tillräckligt stark gasfjäder.
Och beräkningen på valeryd är ju med din högra bild...
Men börjar bli sent, jag kanske har gjort nån tankevurpa...
Om du vill använda vänstra bilden och den öppnar för lätt/snabbt så får du väl flytta fästet i luckan närme gångjärnet.
Gasfjädern ger väl inte samma kraft hela slaget, utan ger mest kraft i början (ihopskjuten).
Det är även i början hävarmen arbetar mot dig så att säga.
Så rät avstånd (hävarm) och tillräckligt stark gasfjäder.
Och beräkningen på valeryd är ju med din högra bild...
Men börjar bli sent, jag kanske har gjort nån tankevurpa...
Om du vill använda vänstra bilden och den öppnar för lätt/snabbt så får du väl flytta fästet i luckan närme gångjärnet.
Felet du gör är att du placerar hela luckans vikt längst bak enl. "Valerydsformel" (är skall du placera den invägda vikten.
Om vi istället kör en jämnviktsekvation kring gångjärnscentrum (vänstra bildens fjäderplacering) så ligger luckans tyngdpunkt halva lucklängden från gångjärnet dvs 94/2 = 47cm och väger 26*10=260N. Dina gasfjädrar klarar att ge 2*350N.
För att få jämnvikt (dvs luckan balanseras med hjälp av gasfjädrarna, rent teoretiskt) skall gasfjädrarna placeras X cm från gångjärnscentrum. Detta skulle då ge följande: 260*47 = 2*350*X vilket ger ett X=17,45 cm.
Nu har du "jämnviktsläget", placerar du gasfjädrarna längre än ca. 17,5 cm från gångjärnscentrum så kommer gasfjädrarna att öppna luckan och ju närmare än 17,5 du placerar fjädrarna desto mer egenkraft måste du använda för att kunna öppna luckan.
Nu är det "bara" att gå ut och justera fram den i ditt tycke bästa placeringen...... beroende på hur mycket du vill ta i för att lyfta luckan.
Om vi istället kör en jämnviktsekvation kring gångjärnscentrum (vänstra bildens fjäderplacering) så ligger luckans tyngdpunkt halva lucklängden från gångjärnet dvs 94/2 = 47cm och väger 26*10=260N. Dina gasfjädrar klarar att ge 2*350N.
För att få jämnvikt (dvs luckan balanseras med hjälp av gasfjädrarna, rent teoretiskt) skall gasfjädrarna placeras X cm från gångjärnscentrum. Detta skulle då ge följande: 260*47 = 2*350*X vilket ger ett X=17,45 cm.
Nu har du "jämnviktsläget", placerar du gasfjädrarna längre än ca. 17,5 cm från gångjärnscentrum så kommer gasfjädrarna att öppna luckan och ju närmare än 17,5 du placerar fjädrarna desto mer egenkraft måste du använda för att kunna öppna luckan.
Nu är det "bara" att gå ut och justera fram den i ditt tycke bästa placeringen...... beroende på hur mycket du vill ta i för att lyfta luckan.
Hobbysnickare
· Västmanland
· 210 inlägg
Tack roli! Även om jag inte riktigt hängde med i din uträkning så är det ju en sådan jag var ute efter.
Men om jag förstår dig rätt - och det skriver jag lika mycket för min egen del som för att du ska dubbelkolla mig här. I alla fall, om gasfjädrarna skulle stå lodrätt mot luckan (som figuren till vänster) och placerad i mitten av luckans bredd (47cm) så skulle den verka med 700N på en lucka som där väger 260N, korrekt?
Så, ju längre in mot gångjärnet jag flyttar de lodräta fjädrarna, desto mer väger luckan.
Jag skriver inte detta för att det var någon nyhet, detta är ju givetvis rätt så naturligt, men jag repeterar här.
Enligt Valeryd så är brytpunkten vid 210 mm, enligt dig vid 175mm.
Din formel verkar vara 260 (tyngpunktsvikten) * (hälften av luckans längd) = 12220, och sen 12220/700 = 17,45.
Det enda jag inte hänger med på är varför du tar 260N * 47, vad ger det dig för svar (förutom det matematiska resultatet)? Jag frågar både för jag är nyfiken och för att jag vill vara säker på att logiken är korrekt innan jag ändrar på fjädrarna ännu en gång
Tack så otroligt mycket för att du tagit dig tid i vilket fall som helst, det var något sådant där jag ville ha som underlag
Men om jag förstår dig rätt - och det skriver jag lika mycket för min egen del som för att du ska dubbelkolla mig här. I alla fall, om gasfjädrarna skulle stå lodrätt mot luckan (som figuren till vänster) och placerad i mitten av luckans bredd (47cm) så skulle den verka med 700N på en lucka som där väger 260N, korrekt?
Så, ju längre in mot gångjärnet jag flyttar de lodräta fjädrarna, desto mer väger luckan.
Jag skriver inte detta för att det var någon nyhet, detta är ju givetvis rätt så naturligt, men jag repeterar här.
Enligt Valeryd så är brytpunkten vid 210 mm, enligt dig vid 175mm.
Din formel verkar vara 260 (tyngpunktsvikten) * (hälften av luckans längd) = 12220, och sen 12220/700 = 17,45.
Det enda jag inte hänger med på är varför du tar 260N * 47, vad ger det dig för svar (förutom det matematiska resultatet)? Jag frågar både för jag är nyfiken och för att jag vill vara säker på att logiken är korrekt innan jag ändrar på fjädrarna ännu en gång
Tack så otroligt mycket för att du tagit dig tid i vilket fall som helst, det var något sådant där jag ville ha som underlag
Jämnviktsekvationen bygger på momentet från luckans vikt som vill rotera medsols i förhållande till rotationspunkten, dvs gångjärnet. Gasfjädrarna skall hålla emot och ger då en rotation som verkar motsols.
Luckan väger 26kg dvs ca 260N och har sin tyngdpunkt mitt på luckan som var 94cm dvs hävarmen för medsolsmomentet blir då 47cm (94/2). 47*260=12220Ncm (brukar anges i Nm men nu använder vi cm här).
Den mothållande kraften står gasfjädrarna för som då skall ha en hävarm X som multiplicerat med kraften skall ge luckans moment. 12220/(2*350) vilket ger ett X=17,45cm.
Att min beräkning inte stämmer med den som Valeryd redovisning kan bero på att gasfjädren där är vinklad, dvs det måttet som redovisas är inte vinkelrät mot gasfjäderkraften. Om man visste vinkeln där så hade man fått fram andra värden.
Ändrar du gasfjäderns vinkel från vertikalt läge så ändras också momenthävarmen. Så i min beräkning gäller att det vinkelräta avståndet från gångjärnscentrum till gasfjädern skall vara 17,45cm för att luckan skall vara i jämnvikt. Detta stämmer i teorin eftersom vi inte tar hänsyn här till eventuell friktion i gångjärnet eller i gasfjädern mm mm. Redovisad jämnviktsberäkning gäller också bara när luckan ligger ner. Öppnar du den halvvägs upp så är inte hävarmen längre 47cm till luckans tyngdpunktskraft eftersom den alltid gäller rakt ner. Men samtidigt så har gasfjädrarnas hävarm också ändrats. Detta syns bäst om man ritar upp några olika öppningsvinklar på luckan och i dessa visar luckans vikt och gasfjädrarnas tryck som pilar i rätt riktningar. Där luckans vikt alltid skall vara i lod medans gasfjäderns ändras eftersom den sitter fast i både luckan och i fundamentet.
Hoppas att denna beskrivning rätade ut några av dina frågetecken annars får du fråga igen på det som verkar "konstigt". Du skall veta att det inte är lätt att försöka förklara allt vi text heller......
Luckan väger 26kg dvs ca 260N och har sin tyngdpunkt mitt på luckan som var 94cm dvs hävarmen för medsolsmomentet blir då 47cm (94/2). 47*260=12220Ncm (brukar anges i Nm men nu använder vi cm här).
Den mothållande kraften står gasfjädrarna för som då skall ha en hävarm X som multiplicerat med kraften skall ge luckans moment. 12220/(2*350) vilket ger ett X=17,45cm.
Att min beräkning inte stämmer med den som Valeryd redovisning kan bero på att gasfjädren där är vinklad, dvs det måttet som redovisas är inte vinkelrät mot gasfjäderkraften. Om man visste vinkeln där så hade man fått fram andra värden.
Ändrar du gasfjäderns vinkel från vertikalt läge så ändras också momenthävarmen. Så i min beräkning gäller att det vinkelräta avståndet från gångjärnscentrum till gasfjädern skall vara 17,45cm för att luckan skall vara i jämnvikt. Detta stämmer i teorin eftersom vi inte tar hänsyn här till eventuell friktion i gångjärnet eller i gasfjädern mm mm. Redovisad jämnviktsberäkning gäller också bara när luckan ligger ner. Öppnar du den halvvägs upp så är inte hävarmen längre 47cm till luckans tyngdpunktskraft eftersom den alltid gäller rakt ner. Men samtidigt så har gasfjädrarnas hävarm också ändrats. Detta syns bäst om man ritar upp några olika öppningsvinklar på luckan och i dessa visar luckans vikt och gasfjädrarnas tryck som pilar i rätt riktningar. Där luckans vikt alltid skall vara i lod medans gasfjäderns ändras eftersom den sitter fast i både luckan och i fundamentet.
Hoppas att denna beskrivning rätade ut några av dina frågetecken annars får du fråga igen på det som verkar "konstigt". Du skall veta att det inte är lätt att försöka förklara allt vi text heller......
Redigerat:
Nja, luckan väger inte mer men du får ta i med mer "egen" kraft för att öppna luckan.SandmanNet skrev:
Och ju längre ut från gångjärnet du flyttar gasfjädrana dessto svårar blir det att stänga luckan eftersom gasfjädrarnas öppnande moment blir "starkare" än luckans stängande moment (räknat kring gångjärnscentrum).
Hobbysnickare
· Västmanland
· 210 inlägg

Du förklarade jättebra, inser att jag inte är så hemma på allt detta, trots att jag är stark inom matematik
Men en fråga, då din uträkning gav 175mm, vad är det för vinkel på gasfjädern där då? Om Valeryds 210 mm är baserat på att fjädern är vinklad *från* gångjärnet så är det ju (enligt skissen) så att i det här fallet är ju fjädern vinklad *mot* gångjärnet.
Regeln som fjädern fäster vid i bakkant är en 45mm-regel så man kan säga att fjädern fäster kanske 50mm från gångjärnets centerpunkt och sen är andra fästet enligt dig 175mm från gångjärnets centrumpunkt (se min nya skiss). Det känns som att detta måste tas med i beräkningarna, eller hur?
Ingen av dina mått är redovisade vinkelrät mot gasfjädern. Mina 175mm gäller vinkelrät ut från gasfjädern mot gångjärnet. Kan tyvärr inte få in någon skiss som förklarar....
Om du lägger en vinkelhake på gasfjärdern så mäter du gasfjäderns hävarm när den andra armen på vinkelhaken skär igenom gångjärnets centrumpunkt. Hoppas det blev tillräckligt lätt att förstå.
Om du lägger en vinkelhake på gasfjärdern så mäter du gasfjäderns hävarm när den andra armen på vinkelhaken skär igenom gångjärnets centrumpunkt. Hoppas det blev tillräckligt lätt att förstå.
Redigerat: